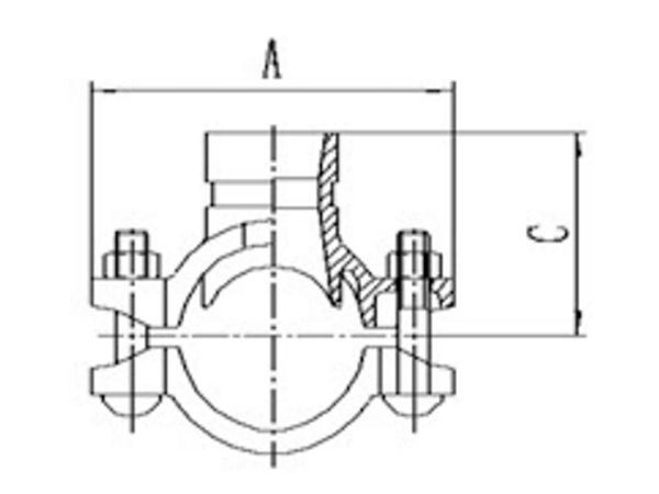
La tee mecánica ranurada consta de placas superior e inferior, una junta y pernos o tuercas, lo que proporciona un método simple y rápido para la conexión de derivaciones. La estructura autosellante de la junta garantiza un sellado permanente. Durante las operaciones de campo, las T mecánicas se pueden instalar con precisión en la tubería para garantizar la precisión de la conexión de salida de la derivación.
La tee mecánica ranurada es adecuada para sistemas de tuberías ranuradas, como sistemas de protección contra incendios y sistemas de tuberías de rociadores.




| Tamaño nominal | Diámetro exterio de la tubería | Diámetro del agujero | Dimensiones | Tamaño del perno | |||
| mm/pulgadas | mm/pulgadas | Medición de corte de agujero | mm/pulgadas | No.-tamaño/ mm | |||
| A mm | B mm | C mm | D mm | ||||
| 50x25 / 2x1 | 60x33.7 / 2.375 x 1.33 | 38 / 1.496 | 118 / 4.65 | 74 / 2.91 | 68 / 2.68 | 40 / 1.57 | M10x55-2 |
| 50x32 / 2x1 1/4 | 60.3x42.4 2.375 x 1.660 | 45 / 1.77 | 118 / 4.65 | 74 / 2.91 | 68 / 2.68 | 40 / 1.57 | M10x55-2 |
| 50x40 / 2x1 1/2 | 60.3x48.3 2.375 x 1.900 | 45 / 1.77 | 118 / 4.65 | 74 / 2.91 | 68 / 5 2.7 | 40 / 1.57 | M10x55-2 |
| 65x25 / 2 1/2x1 | 73x33.7 / 2.874 x 1.33 | 38 / 1.496 | 132 / 5.197 | 74 / 2.91 | 75 / 2.953 | 47 / 1.850 | M12×70-2 |
| 65x32 / 2 1/2x1 1/4 | 73x42.4 / 2.874 x1.660 | 51 / 2.01 | 132 / 5.197 | 84 / 3.31 | 75 / 2.953 | 47 / 1.850 | M12×70-2 |
| 65x40 / 2 1/2x1 1/2 | 73x48.3 / 2.874 x 1.900 | 51 / 2.01 | 132 / 5.197 | 84 / 3.31 | 75 / 2.953 | 47 / 1.850 | M12×70-2 |
| 65x32 / 2 1/2x1 1/4 | 76.1 x42.4 3.000x1.660 | 51 / 2.01 | 135 / 5.31 | 84 / 3.31 | 78 / 3.07 | 48 / 1.89 | M 12x70-2 |
| 65x40 / 2 1/2x1 1/2 | 76.1x48.3 3.000x1 900 | 51 / 2.01 | 135 / 5.31 | 84 / 3.31 | 78 / 3.07 | 48 / 1.89 | M12x70-2 |
| 65x50 / 2 1/2x2 | 76x60 / 3.000x2.375 | 51 / 2.01 | 135 / 5.31 | 84 / 3.31 | 78 / 3.07 | 48 / 1.89 | M12x70-2 |
| 80x25 / 3x1 | 89x33 / 3.500x1.33 | 38 / 1.496 | 146 / 5.75 | 74 / 2.91 | 83 / 3.268 | 55 / 2.17 | M12x70-2 |
| 80x32 / 3x1 1/4 | 88.9x42.4 3.500x1.660 | 51 / 2.01 | 146 / 5.75 | 86 / 3.39 | 85 / 3.35 | 55 / 2.17 | M12x70-2 |
| 80x40 / 3x1 1/2 | 88.9x48.3 3.500x1 900 | 51 / 2.01 | 146 / 5.75 | 86 / 3.39 | 85 / 3.35 | 55 / 2.17 | M12x70-2 |
| 80x50 / 3x2 | 88.9 x 60.3 3.500 x 2.375 | 64 / 2.52 | 146 / 5.75 | 96 / 3.78 | 85 / 3.35 | 55 / 2.17 | M12x70-2 |
| 80x50 / 3x2 1/2 | 88.9x73 / 3.500x3.000 | 64 / 2.52 | 146 / 5.75 | 96 / 3.78 | 85 / 3.35 | 55 / 2.17 | M12x70-2 |
| 100x25 / 4x 1 | 114x33 / 4.500 x 1.33 | 38 / 1.496 | 178 / 7.01 | 74 / 2.91 | 98 / 3.86 | 69 / 2.72 | M12x75-2 |
| 100x32 / 4x 1 1/4 | 114.3x42.4 4.500 x 1.660 | 51 / 2.01 | 178 / 7.01 | 86 / 3.39 | 98 / 3.86 | 69 / 2.72 | M12x75-2 |
| 100x40 / 4x1 1/2 | 114.3x48.3 4.500 x 1.900 | 51 / 2.01 | 178 / 7.01 | 86 / 3.39 | 98 / 3.86 | 69 / 2.72 | M12x75-2 |
| 100x50 / 4x2 | 114.3x60.3 4.500x2.375 | 64 / 2.52 | 178 / 7.01 | 100 / 3.94 | 98 / 3.86 | 69 / 2.72 | M12x75-2 |
| 100x65 / 4x2 1/2 | 114.3x73.0 4.500x2.875 | 70 / 2.76 | 178 / 7.01 | 106 / 4.17 | 98 / 3.86 | 69 / 2.72 | M12x75-2 |
| 100x65 / 4x2 1/2 | 114.3x76.1 4.500 x 3.000 | 70 / 2.76 | 178 / 7.01 | 106 / 4.17 | 98 / 3.86 | 69 / 2.72 | M12x75-2 |
| 100x80 / 4x3 | 114.3x88.9 / 4.500 x 3.500 | 89 / 3.5 | 178 / 7.01 | 124 / 4.882 | 99 / 3.898 | 69 / 2.72 | M12x75-2 |
| 125x40 / 5x1 1/2 | 139.7x48.3 5.500x1.900 | 51 / 2.01 | 213 / 8.39 | 86 / 3.39 | 110 / 4.33 | 81 / 3.19 | M16x85-2 |
| 125x50 / 5x2 | 139.7x60.3 5.500 x 2375 | 64 / 2.52 | 213 / 8.39 | 102 / 4.02 | 110 / 4.33 | 81 / 3.19 | M16x85-2 |
| 125x65 / 5x2 1/2 | 139.7x76.1 5.500x3.000 | 70 / 2.76 | 213 / 8.39 | 108 / 4.25 | 110 / 4.33 | 81 / 3.19 | M16x85-2 |
| 125x80 / 5x3 | 139.7x88.9 / 5.500x3.500 | 89 / 3.5 | 213 / 8.39 | 124 / 4.882 | 110 / 4.33 | 81 / 3.19 | M16x85-2 |
| 150x50 / 6x2 | 165.1x60.3 / 6.500x2.375 | 64 / 2.52 | 238 / 9.37 | 100 / 3.94 | 125 / 4.92 | 95 / 3.74 | M16x 105-2 |
| 150x65 / 6x2 1/2 | 165 1x73.0 / 6.500x2.875 | 70 / 2.76 | 238 / 9.37 | 108 / 4.25 | 129 / 5.08 | 95 / 3.74 | M16x 105-2 |
| 150x65 / 6x2 1/2 | 165.1 x 76.1 / 6.500 x 3.000 | 70 / 2.76 | 238 / 9.37 | 113 / 4.45 | 122 / 4.8 | 95 / 3.74 | M16x 105-2 |
| 150x80 / 6x3 | 165.1x88.9 / 6.500 x 3.5 | 89 / 3.5 | 242 / 9.528 | 128 / 5.039 | 124 / 4.882 | 93 / 3.661 | M16x 105-2 |
| 150x32 / 6x1 1/4 | 168.3x42.4 / 6.625x1 660 | 51 / 2.01 | 255 / 10.04 | 88 / 3.46 | 123 / 4.84 | 96 / 3.78 | M16x 105-2 |
| 150x40 / 6x1 1/2 | 168.3x48.3 / 6.625x1.900 | 51 / 2.01 | 255 / 10.04 | 88 / 3.46 | 123 / 4.84 | 96 / 3.78 | M16x 105-2 |
| 150x50 / 6x2 | 168.3x60.3 / 6.625x2.375 | 64 / 2.52 | 255 / 10.04 | 102 / 4.02 | 123 / 4.84 | 96 / 3.78 | M16x 105-2 |
| 150x65 / 6x2 1/2 | 168.3x73.0 / 6.625x2.875 | 70 / 2.76 | 255 / 10.04 | 108 / 4.25 | 127 / 5.000 | 96 / 3.78 | M16x 105-2 |
| 200 x 50 / 8x2 | 219.1x60.3 / 8.625x2.375 | 64 / 2.52 | 310 / 12.2 | 104 / 4.09 | 153 / 6.02 | 124 / 4.88 | M20x 115-2 |
| 200 x 65 / 8x2 1/2 | 219.1x73.0 / 8.625x2.875 | 70 / 2.76 | 310 / 12.2 | 108 / 4.25 | 153 / 6.02 | 124 / 4.88 | M20x 115-2 |
| 200x65 / 8x2 1/2 | 219 1 x 76.1 / 8.625 x 3.000 | 70 / 2.76 | 310 / 12.2 | 115 / 4.53 | 152 / 5.98 | 124 / 4.88 | M20x115-2 |
| 200x80 / 8x3 | 219.1x88.9 / 8.625x3.500 | 89 / 3.5 | 310 / 12.2 | 127 / 5 | 152 / 5.98 | 124 / 4.88 | M20x 115-2 |